Логический модуль с дисплеем Siemens LOGO! 12/24RC

Характеристики модулей Siemens LOGO! 12/24RC 6ED1052-1MD00-0BA6:
- Показатели питания: 12/24В;
- Дискретные входы: 8 (4 могут выполнять функции аналоговых);
- Дискретные выходы: 4 (нормально разомкнутые реле);
- Особенности памяти: 200 блоков;
- Дополнительные возможности: расширение функционального потенциала модулями ввода/вывода.
Цена: от 4 326 руб.
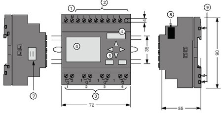
Общее описание

- 1 - источник питания
- 2 - входы
- 3 - выходы
- 4 - гнездо под модуль, оснащенный крышкой
- 5 - панель, посредством которой реализуются опции управления
- 6 - дисплей
- 7 - разъем для кабеля типа LOGO!TD
- 8 - интерфейс расширения
- 9 – опции механического кодирования - гнёзда
Особенности схемы подключения и максимальной конфигурация LOGO!12/24RC
Siemens LOGO! 12/24RC поддерживает 24 цифровых входов, 8 аналоговых входов, а также 16 цифровых и 2 аналоговых выхода. Для достижения параметров, характерных для максимальной конфигурации, используют нижеприведенную методику:
- Максимальная конфигурация с аналоговыми входами – 4входа (LOGO!12/24RC/RCo и LOGO!24/24o)

- Максимальная конфигурация модулей LOGO! с аналоговыми входами (используется 2 входа (LOGO! 12/24 RC/RCo и LOGO !24/24o)

- Максимальная конфигурация модулей данного класса LOGO! без аналоговых входов (LOGO! 24RC/RCo, а также LOGO! 230 RC/RCo)

Специфика монтажа модуля LOGO!12/24RC

Поэтапный монтаж на DIN-рейку:
1. На первом этапе осуществления монтажных работ следует навесить модуль на рейку;
2. Путем нажимания на нижнюю часть, срабатывает специальная защелка модуля, выполняется надежная его фиксация (защелка расположена на задней части прибора);
3. С правой стороны модуля находится крышка разъема, которую необходимо снять;
4. С правой стороны от LOGO!Basic помещается модуль на DIN-рейку;
5. Перемещаем модуль в левую сторону таким образом, чтобы последний контактировал с LOGO!Basic;
6. Посредством отвертки защелка отодвигается влево, после чего она должна занять крайнее левое положение.
Монтаж дополнительного оборудования выполняется путем поэтапного повторения всех пунктов, относящихся к монтажу цифрового модуля.
Поэтапный монтаж на стену:
Аккуратно переместите монтажные защелки наружу, как правило, они расположены на задней стенки устройства. Непосредственно монтаж модуля выполняется при помощи двух монтажных защелок и двух винтов ØM4 (момент затяжки 0,8-1,2Нм).

Технические характеристики LOGO!12/24RC:
| Блок питания: | |
|---|---|
| Входное напряжение | 12/24В (ток постоянный) |
| Допустимый диапазон | 10,8...28,8В (ток постоянный) |
| Защита от обратной полярности | Имеется |
| Потребление тока • 12В (ток постоянный) • 24В (ток постоянный) |
30...140мА 20...75мА |
| Буферизация исчезновения напряжения • 12В (ток постоянный) •24 В (ток постоянный) |
тип. 2мс тип. 5мс |
| Мощность потерь • 12В (ток постоянный) • 24В (ток постоянный) |
0,3...1,7Вт 0,4...1,8Вт |
| Буферизация часов в условиях 25°C | тип. 80час. |
| Точность опции часов реального времени | тип. ±2 с/день |
| Цифровые входы: | |
| Количество | 8 |
| Потенциальная развязка | Нет |
| Входное напряжение L при • Сигнал 0 • Сигнал 1 |
< 5В (ток постоянный) > 8В (ток постоянный) |
| Входной ток при • сигнале 0 • сигнале 1 |
< 1,0мА (I1...I6) < 0,05мА (I7, I8) > 1,5мА (I1... I6) > 0,1мА (I7, I8) |
| Время задержки при • переходе с 0 на 1 • переходе с 1 на 0 |
тип. 1,5мс <1,0мс (I5, I6) тип. 1,5мс <1,0мс (I5, I6) |
| Длина линии (неэкранированной) | 100 м |
| Аналоговые входы: | |
| Количество | 2 (I7 = AI1, I8 = AI2) |
| Диапазон | 0...10В (ток постоянный) входной импеданс 76кОм |
| Время цикла, необходимое для формирования аналоговых значений | 300мс |
| Входное напряжение (max) | 28,8В (ток постоянный) |
| Длина линии (экранированная витая пара) | 10м |
| Цифровые выходы: | |
| Количество | 4 |
| Тип выходов | Релейные выходы |
| Потенциальная развязка | Да |
| Группами по | 1 |
| Управление цифровым входом | Да |
| Длительный ток Ith (на клемму) | 10A на реле (max) |
| Нагрузка из ламп накаливания (25 000 циклов переключения) | 1000Вт |
| Люминесцентные лампы с дросселем (25 000циклов переключения) | 10 x 58Вт |
| Люминесцентные лампы с обычной компенсацией (25000 циклов переключения) |
1 x 58Вт |
| Люминесцентные лампы, некомпенсированные (25000 циклов переключения) |
10 x 58Вт |
| Понижение номинала | нет; во всем диапазоне температур |
| Устойчивость к коротким замыканиям при cos = 1 | Защита по питанию B16 600A |
| Устойчивость к коротким замыканиям при cos от 0,5 до 0,7 | Защита по питанию B16 900A |
| Параллельное включение выходов для увеличения мощности | Не допускается |
| Защита выходного реле (если желательна) | макс. 16A, характеристика B16 |
| Частота включений: | |
| механическая | 10Гц |
| омическая/ламповая нагрузка | 2Гц |
| индуктивная нагрузка | 0,5Гц |